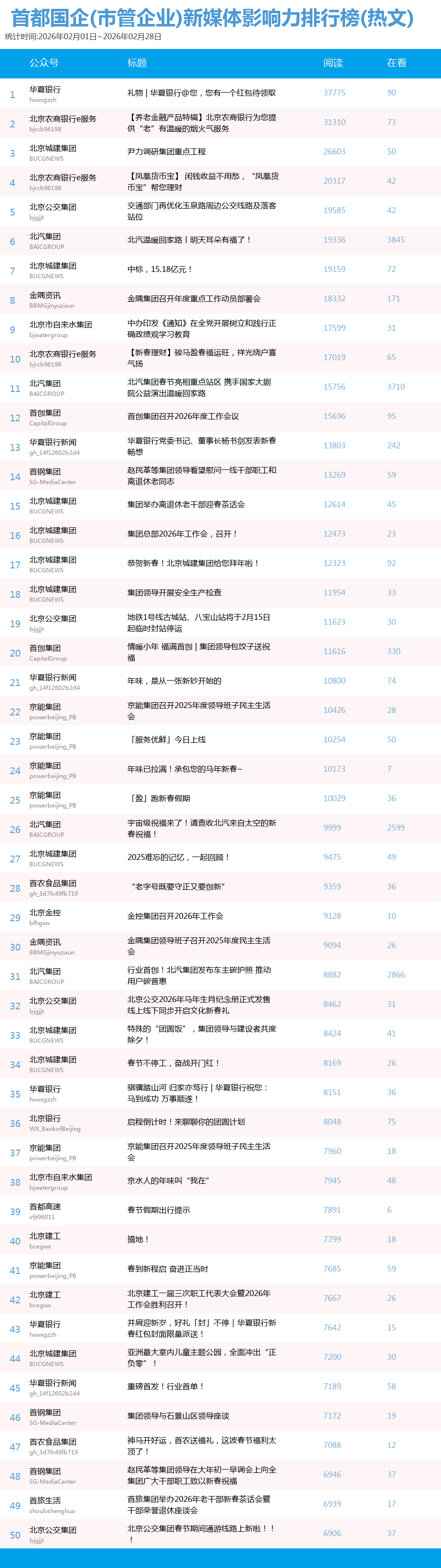
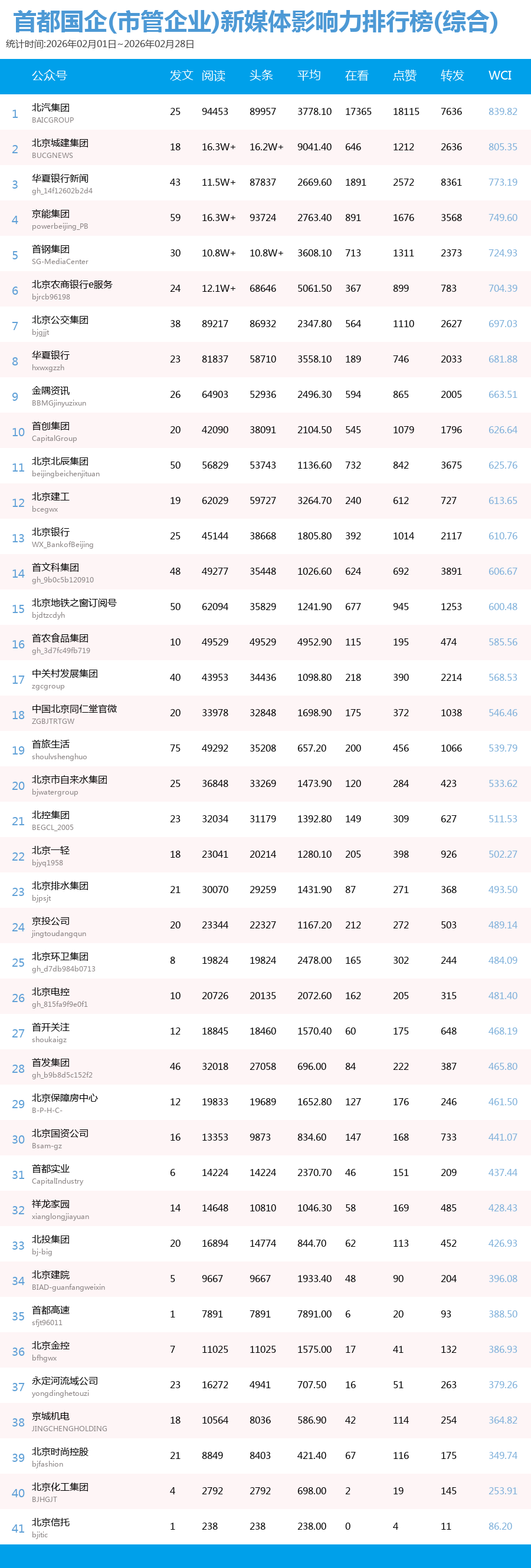
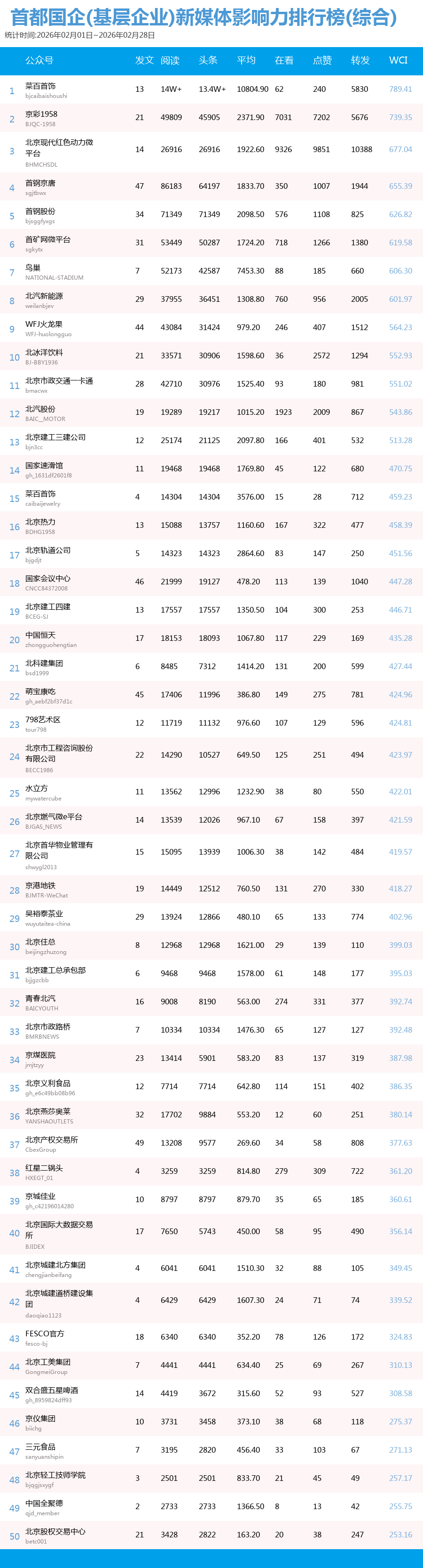
2026年2月月榜
新时代开启新征程,新思想指引新作为。在融媒体风起云涌的互联网新时代背景下,新媒体的能量与地位日益彰显。为促进首都国企微信公众号之间的交流学习、多渠道同频共振,有效解读国资国企时政热点、及时报道改革发展生动实践,让微信朋友圈成为国资国企宣传的同心圆,京京于每月初发布首都国企新媒体影响力排行榜月榜(综合榜、热文榜),分别收集、分析市管企业、双管企业及所属子企业等市国资委新媒体账号的基础数据,对微信运营的实际绩效和影响力进行专业性考量。请大家疯狂打call,热切关注。
月榜(第86期)
2026年2月1日至2026年2月28日






评估指数说明:
依据清博指数的WCI测算公式,对加入榜单的各微信公众平台推送内容的传播度、覆盖度及账号的成熟度及影响力进行推算。
1.统计时间:月度数据收集时段:自然月
2.WCI测算V14.2计算公式:

其中:
R为评估时间段内所有文章(n)的阅读总数;
Z为评估时间段内所有文章(n)的在看总数;
L为评估时间段内所有文章(n)的点赞总数;
d为评估时间段所含天数(一般周取7天,月度取30天,年度取365天,其他自定义时间段以真实天数计算);
n为评估时间段内账号所发文章数;
Rt、Zt和Lt为评估时间段内账号所发头条的总阅读数、总在看数和总点赞数;
nt为评估时间段内账号所发头条文章数;
Rmax、Zmax和Lmax为评估时间段内账号所发文章的最高阅读数、最高在看数和最高点赞数。
我要加入
未能收录到排行榜中的企业可与市国资委宣传工作处联系,我们将尽快收录,参与冲榜。
扫一扫在手机打开当前页